Россия, Москва, 2-я Синичкина улица
Телефон:
+7 (903) 557-22- Показать номер
Пн-пт: 09:00—18:00
whatsapp telegram vk email

Какая компрессия должна быть у лодочного мотора ямаха

ФИКСИРУЕМ ДРОССЕЛЬНУЮ ЗАСЛОНКУ В ОТКРЫТОМ ПОЛОЖЕНИИ.

И приводим в действие стартер. После того как показания перестали расти, сбрасываем давление и повторяем процедуру для достоверности. Можно ещё 1-2 раза. Если двигатель 2-ух и более -цилиндровый, смотрим разбег в показаниях. Он не должен превышать 1 очка.

Оговорюсь, что меряем в Bar (1 бар примерно равен 1 технической атмосфере). Нормативы и допуски по показаниям смотрите в документации к вашему мотору.

В 4Т моторах эти показатели конечно же больше, чем в 2Т. Исключения могут составить 2Т двигатели изготовленные по новейшим технологиям и по многим показателям, включающими и экономичность, превосходящие 4Т моторы.

Однако, нужно учитывать, что есть 4Т двигатели с декомпрессорами для облегчения старта.

Вас не должно удивлять, что такой мотор может показать максимум 5 очков «на горшок».

Затем, если мы наблюдаем у двигателя по полученным показателям снижение норм компрессии, берем обыкновенный шприц и через свечные отверстия заливаем обычное моторное масло (веретенку, силиконовое).

Заливать много не надо. При избытке масла можете получить банальный гидроудар, если хватит мощности стартера, или травму кисти, если стартер ручной.

Повторно проводим процедуру замера. Если компрессия по-прежнему мала и возросла незначительно, значит проблема в клапанах (4т мотор). Если же возросла заметно, значит проблема в залегших или поврежденных кольцах, поршнях, цилиндрах.

Вот и вся хитрость.

Процедуру замера компрессии удобнее проводит вдвоем. Так вы получите более точные показания. Если было полезно — нажмите «палец вверх».

Будем продолжать подобные публикации. Ещё советуем: Рулевое управление лодки. Полезные мелочи. Для дополнительной информации, можете посмотреть это видео

Источник

Справочные данные Yamaha 9.9F

мы рекомендуем пользоваться авторизованным сервисом для ремонта техники Yamaha

ниже справочные данные для помощи в выборе зч в случае, когда такой сервис недоступен

Объём используемого масла:

1 Объём масла редуктора Yamaha 9.9F 0.25 л.
1 Диаметр цилиндра Yamaha 9.9F 56,00-56,02 мм
2 Зазор «поршень-цилиндр» нормальный Yamaha 9.9F 0,035-0,040 мм
3 Зазор «поршень-цилиндр» предельный Yamaha 9.9F 0,09 мм
4 Зазор в стыке верхнего кольца Yamaha 9.9F 0,15- 0,35 мм
5 Предельный зазор в стыке верхнего кольца 0,55 мм
6 Зазор в стыке нижнего кольца Yamaha 9.9F 0,15- 0,35 мм
7 Предельный зазор в стыке нижнего кольца 0,55 мм
8 Рабочий объём Yamaha 9.9F 246 См3
9 Компрессия Yamaha 9.9F 8,5 Кг/см2
10 Мощность генератора (при максимальных оборотах) 80 Вт
11 Свечи и зазор в них Yamaha 9.9F B7HS-10, BR7HS-10 0,9-1,0 мм
12 Усилие затяжки головки блока цилиндров Yamaha 9.9F 1,73 Кг/м
13 Угол опережения зажигания на холостых оборотах 5 Градусов после ВМТ
14 Угол опережения зажигания на максимальных оборотах 30 Градусов до ВМТ
15 Максимальные обороты Yamaha 9.9F 4500-5500 Об/мин
16 Температура открытия термостата Yamaha 9.9F 48-52 Град С

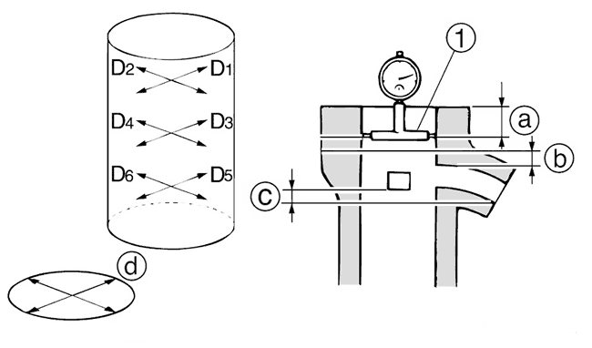
Измерение диаметра цилиндра Yamaha 9.9F

Для определения возможных отклонений производится шесть замеров

в различных точках (D1-D6), как показано ниже:

image

Положение измерения: а = 10 мм, b = 5 мм, с = 5 мм

Измерение диаметра поршня производится поперёк оси поршневого пальца

image

Положение измерения: H = 10 мм

8 800 250-02-27 Единый номер по всей России

Компания East Marine предлагает запчасти Yamaha по лучшим ценам с доставкой в регионы России. Закажите прямо сейчас online!

Источник

Замеряем компрессию

image

Проверяя компрессию на четырехтактном моторе может получиться так, что один из цилиндров показывает низкое значение. Добавьте в цилиндр немного моторного масла и проверьте еще раз. Не изменилось значение – значит так настроена система газораспределения. Компрессия поднялась – возможен повышенный износ цилиндров или поршневой группы, также возможно прокладка блока цилиндров не герметичная. Очень низкая компрессия свидетельствует о прогаре поршней, от покупки такого мотора конечно же следует отказаться.

Также перед запуском проверьте состояние цилиндров, в них не должно быть коррозии. Используем для этого фонарик. Коррозия на двухтактных моторах в первую очередь проявляется на впускных и выпускных отверстиях, по краям. Если консервация проводилась, то остатки консерванта вы также увидите там.

Во время работы мотора убедитесь в целостности системы охлаждения. Посмотрите на контрольную струю.

image

Далее проверяем редуктор и его корпус на предмет наличия следов ударов. Не забудьте открутить масляные болты и глянуть что внутри, есть ли там масло вообще. Также снимаем гребной винт и на нейтрале прокручиваем гребной вал. Конечно же он должен быть точно прямым. Рекомендуем осмотреть всю проводку, нет ли оплавленных проводов или контактов. Посмотрите свечные колпачки, все должно быть чисто без ржавчины, хоть это и не критично.

Перед тем как ехать к продавцу, посмотрите цены на стандартные расходники на ту или иную модель. Таким образом вы будете во всеоружии и сможете немного сбить цену.

Источник

Как увеличить мощность двигателя моторной лодки и ликвидировать стуки

Если вы замечаете такие признаки, то это говорит о следующем. На поршнях и головке цилиндра появился нагар. Он обладает низкой теплопроводностью, что увеличивает температуру поршня на 30%. В итоге слой нагара раскаляется и может возникать возгорание смеси. И тогда поломки лодочного мотора не избежать.

Добавление в двигатель присадки РВС способствует формированию металлокерамического слоя (если в моторе есть чугунная гильза), который защищает пары трения от пластической деформации и износа. Возникает эффект демпфера, о котором мы рассказали в статье ранее. Защитный слой образует однородное с металлом соединение. Он обладает идентичным с металлом коэффициентом линейного термического расширения, не испытывает деформационных напряжений, приводящих к его разрушению при температурных колебаниях при эксплуатации.

Добавив присадку RVS Master в лодочный мотор «Ямаха», «Ханкай», «Сузуки» или «Тохатсу», вы поймете, как на самом деле просто увеличить его мощность, не прибегая к разбору и ремонту.

ВНИМАНИЕ. Обновите свой браузер! Наш сайт некорректно работает с IE 8 и более старыми версиями.

Вздумал я посмотреть/проверить в своем моторе(JPX) состояние поршневой. Мотор налетал в общей сложности 80-90 часов, поршень и кольца не менялись.

Снял головку цилиндра, цилиндр. Снял поршень с шатуна. На первый взгляд все хорошо и правильно. Гильза цилиндра чистая, без задиров. Поршень тоже без следов прихвата, но вот что смутило: нагар ниже 2-го кольца. Нагар несильный, смылся через минуту тряпкой смоченной в бензине.

Собственно вопрос к аудитории парамоторной: -можно ли по компрессии 2Т двигателя чётко судить о степени износа поршневой? -можно ли измерить компрессию 2Т двигателя автомобильным компрессометром? -если можно, то сколько ее должно быть?

Фишка в том, что в моём моторе нет декомпрессионного “устройства”. Нет отверстия. Нету и декомпрессора, как на 25-м джипиксе.

У меня 19-й, старинный.

(декомпрессионные отверстия, которые перекрываются только в рабочем режиме то есть когда мотор работает)- цитата.

Степень сжатия и компрессия

Степень сжатия = полный объем цилиндра/объем камеры сгорания.

Для движков классики составляет 8.5. Изменяется при помощи изменения объема камеры сгорания (например прокладкой). Повышение степени сжатия в карбюраторном двигателе ограничено стойкостью топлива к детонации.

Под компрессией понимают давление в конце такта сжатия. Эта величина и измеряется манометром (компрессиометром).

Как соотносятся степень сжатия и компресия?

Немного теории. Компрессия обычно больше, чем степень сжатия (12 у нового приработанного 2103 двигателя), поскольку сжатие происходит практически адиабатически, и, соответственно, сопровождается изменением (увеличением) температуры смеси. Эта величина была бы равна степени сжатия, если бы сжатие происходило изотермически в герметически замкнутом объеме. В случае адиабатическиго сжатия максимальное возможное давление в конце такта сжатия (“компрессия”) оценивается согласно уравнению Пуассона

Ямаха 9,9 в 15л.с (Просматривают: 5)

алексей 0107

Леха.Д

Kord 73 писал: При использование некачественных компрессометров с резиновым шлангом,этот шланг раздувается

Ну, у меня компрессометр дешевый но без шланга, сам манометр на металлической ножке и наконечник резиновый, так что потери не должно быть, просто хотелось бы знать, какое давление является нормой для данного мотора

Павелий

Да, всё исключтельно верно располагаете. Если достигнуто оптимальное попадание то двигатель выйдет особенный, со своими характерными чертами. А Бойзены ,безусловно, меня порадовали. Приём заметно улучшился, по ощущениям движок заметно преобразился, Вобщем всё в счёт, каждая мелочь даёт свои результаты. Вам удачных тестов.

———- Сообщение добавлено в 20:44 ———- Предыдущее сообщение размещено в 20:17 ———-

———- Сообщение добавлено в 14:35 ———- Предыдущее сообщение размещено в 14:28 ———-

Если не хотите экономить поищите хондовский.

Он подходит.[/QUOTE]

За Хондовский поддержу! Изумительные винты — если оригинал. Использую дубль от Н-20, они стоят своих денег.

Ссылка на основную публикацию
Похожее